Prozessabläufe

Die unangekündigte Nachkontrolle (nachfolgend UN genannt) initiiert zwei unterschiedliche Prozesse mit unterschiedlichen Auswertungen und Schlussfolgerungen.

Der interne Teil liegt im Souveränitätsbereich der jeweiligen Mitglieder, wogegen der externe Teil die Zusammenfassung und Analyse von entpersonifizierten Daten betrifft.

Interner Verfahrensablauf der UN

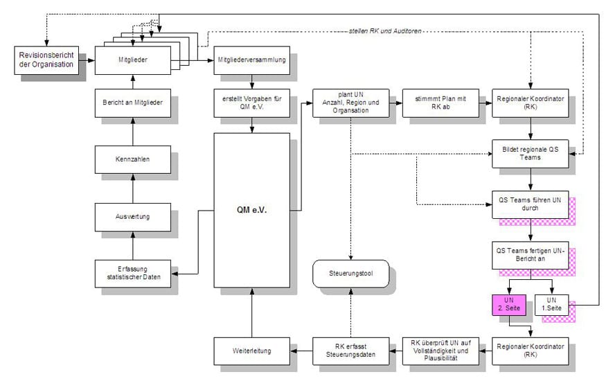
Der interne Teil des Prozesses ist Bestandteil des unternehmensinternen Qualitätsmanagementsystems, in dem beschrieben ist, wie das Unternehmen seine Qualitätsprüfungen organisiert und auf Abweichungen reagiert. Vorstehendes Diagramm zeigt beispielhaft, wie die UN in Qualitätsmanagementsysteme eingebunden werden kann.

Ermittelte Informationen:

  • Name und Kennung der untersuchenden Person
  • Name der Untersuchungsstelle
  • Zugehöriger HU-Untersuchungsbericht
  • Art und Alter des untersuchten Fahrzeuges
  • Mängelfeststellungen der Auditoren
  • Übereinstimmung mit den Feststellungen der UP
  • Untersuchungsergebnis von Untersuchender Person und Auditoren
  • Informationen, ob Gegebenheiten in der Ausstattung der Untersuchungsstelle ursächlich für die unterschiedliche Bewertung waren
  • weitere Bemerkungen der UP und Auditoren

Externer Verfahrensablauf der UN

Mit der anonymisierten Durchschrift des UN-Untersuchungsberichtes erlangt der QM eV. Kenntnis vom Ergebnis der UN.

Konkret werden folgende Informationen übermittelt, erfasst und ausgewertet:

  • Datum und Ort der UN
  • Art der Untersuchungsstelle
  • Betreffende ÜI
  • Art und Alter des untersuchten Fahrzeuges
  • Mängelfeststellungen der Auditoren
  • Übereinstimmung mit den Feststellungen der UP
  • Untersuchungsergebnis von Untersuchender Person und Auditoren
  • Informationen, ob Gegebenheiten in der Ausstattung der Untersuchungsstelle ursächlich für die unterschiedliche Bewertung waren
© Copyright 2009 - 2026 · Alle Rechte vorbehalten
Verein für Qualitätsmanagement in der Fahrzeugüberwachung e. V.
de_DEDeutsch